Noteikumi (konsolidētā versija)

25-TA-266
Elektrisko un elektronisko iekārtu kategorijas un marķēšanas prasības un šo iekārtu atkritumu apsaimniekošanas prasības un kārtība
Izdoti saskaņā ar Atkritumu apsaimniekošanas likuma
24.panta pirmo daļu un 29. panta 1., 2., 3. un 4. punktu
I.Vispārīgie jautājumi
1.
Noteikumi nosaka:
1.1.
elektrisko un elektronisko iekārtu (turpmāk – iekārtu) kategorijas (1. un 2. pielikums);
1.2.
iekārtu marķēšanas prasības;
1.3.
prasības, kas jāievēro, sniedzot informāciju patērētājiem un iekārtu atkritumu apstrādes, atkārtotas izmantošanas, pārstrādes un reģenerācijas iekārtu operatoriem, kā arī prasības attiecībā uz sabiedrības un Eiropas Komisijas informēšanu;
1.4.
iekārtu atkritumu savākšanas un apstrādes prasības;
1.5.
iekārtu atkritumu savākšanas, atkārtotas izmantošanas, pārstrādes un reģenerācijas apjomus un termiņus, kā arī kārtību, kādā sniedzams ziņojums par šo darbu izpildi.
2.
Noteikumos ir lietoti šādi termini:
2.1.
lielizmēra stacionārie rūpnieciskie mehānismi – mehānismu, iekārtu vai komponentu lielizmēra agregāti, kuri darbojas konkrētā nolūkā, kurus noteiktā vietā pastāvīgai lietošanai uzstāda un izjauc speciālisti un kurus rūpnieciskā ražotnē vai pētniecības un izstrādes objektā izmanto un apkalpo speciālisti;
2.2.
lielizmēra stacionāra iekārta – dažādu aparātu un attiecīgos gadījumos citu ierīču lielizmēra savienojums, ko montē, uzstāda un izjauc speciālisti un kas kā ēkas vai struktūras daļa paredzēts pastāvīgai lietošanai iepriekš noteiktā un izraudzītā vietā, un ko var aizstāt tikai ar tādu pašu īpaši konstruētu iekārtu;
2.3.
autoceļiem neparedzēta mobila tehnika – tehnika ar iebūvētu piedziņu, kuras ekspluatācija darba laikā paredz mobilitāti vai nepārtrauktu vai daļēji nepārtrauktu kustību starp konkrētām fiksētām darba vietām;
2.4.
medicīniskās ierīces – medicīniskās ierīces atbilstoši normatīvajiem aktiem par ārstniecību, kas ir uzskatāmas par iekārtām;
2.5.
in vitro diagnostikas medicīniskās ierīces – in vitro diagnostikas medicīniskās ierīces atbilstoši normatīvajiem aktiem par medicīnisko ierīču reģistrācijas, atbilstības novērtēšanas, izplatīšanas, ekspluatācijas un tehniskās uzraudzības kārtību, kas ir uzskatāmas par iekārtām;
2.6.
aktīvas implantējamas medicīniskās ierīces – aktīvas implantējamas medicīniskās ierīces atbilstoši normatīvajiem aktiem par medicīnisko ierīču reģistrācijas, atbilstības novērtēšanas, izplatīšanas, ekspluatācijas un tehniskās uzraudzības kārtību, kas ir uzskatāmas par iekārtām;
2.7.
atdalīšana – manuāla, mehāniska, ķīmiska vai metalurģiska iekārtu atkritumu apstrāde, kuras rezultātā rodas identificējama iekārtu atkritumos esošo bīstamo vielu, maisījumu un komponentu plūsma vai arī tiek nodrošināta iespēja identificēt iekārtu atkritumos esošās bīstamās vielas, maisījumus un komponentus iekārtu atkritumu apstrādes procesā. Vielu, maisījumu vai komponentu uzskata par identificējamu, ja ir iespējams veikt tā monitoringu, lai pārliecinātos par to, vai iekārtu atkritumu apstrāde notiek videi drošā veidā.
(Grozīts ar MK 12.12.2017. noteikumiem Nr. 753)
3.
Noteikumi neattiecas uz:
3.1.
iekārtām, kuras tiek izmantotas valsts drošības pamatinterešu aizsardzībai, kā arī uz ieročiem, munīciju un citām specifiskām militārām iekārtām, kas paredzētas īpašiem militāriem mērķiem;
3.2.
iekārtām, kuras ir īpaši paredzētas un uzstādītas kā tādu iekārtu sastāvdaļa, kuras neietilpst šo noteikumu 1. pielikumā vai 2. pielikumā minētajās kategorijās un kuras var funkcionēt vienīgi kā šādu iekārtu sastāvdaļa;
3.3.
kvēlspuldzēm.
(Grozīts ar MK 12.12.2017. noteikumiem Nr. 753)
II.Iekārtu kategorijas un prasības iekārtu marķēšanai un informācijas sniegšanai
4.
Iekārtu ražotājs savā mājaslapā internetā un mājsaimniecībā lietojamo iekārtu tirdzniecības vietās patērētājiem norāda iekārtu atkritumu savākšanas vai nodošanas iespējas, kā arī informāciju par citu ražotāju vai videi kaitīgo preču atkritumu apsaimniekotāju izveidotajiem iekārtu atkritumu savākšanas vai pieņemšanas punktiem.
5.
Iekārtas ražotājs mājsaimniecībā lietojamo iekārtu instrukcijā patērētajiem norāda šādu informāciju:
5.1.
prasības patērētājiem savākt vai nodot iekārtu atkritumus atsevišķi no citiem sadzīves atkritumiem;
5.2.
patērētāju pienākumus iekārtu atkritumu atkārtotas izmantošanas, pārstrādes un citu veidu reģenerācijas veicināšanai;
5.3.
iekārtās esošo bīstamo vielu iespējamo ietekmi uz vidi, cilvēku dzīvību un veselību;
5.4.
iekārtu marķējuma simbola (3. pielikums) nozīmi.
6.
Papildus normatīvajos aktos par atbilstības novērtēšanu noteiktajām marķēšanas prasībām, kas attiecas uz iekārtām, ražotājs marķē iekārtas saskaņā ar šo noteikumu 3. pielikumu un ievērojot standartus par iekārtu marķēšanu, lai nodrošinātu iekārtu atkritumu dalītu savākšanu un novērstu iekārtu atkritumu apglabāšanu kā nešķirotus sadzīves atkritumus. Marķējumu izvieto uz iekārtas redzamā vietā. Marķējumam jābūt viegli salasāmam un neizdzēšamam. Izņēmuma gadījumā, ja iekārtu tās izmēra vai funkciju dēļ nav iespējams marķēt, marķējumu izvieto uz iekārtas iepakojuma, garantijas talona vai norāda lietošanas instrukcijā.
6.1
Lai nekļūdīgi noteiktu datumu, kad iekārta laista tirgū, marķējumā saskaņā ar standartiem par iekārtu marķēšanu norāda, ka iekārta ir laista tirgū pēc 2005. gada 13. augusta.
7.
Gada laikā pēc katras jauna veida iekārtas piedāvāšanas tirgū tās ražotājs operatoriem, kas veic iekārtu sagatavošanu atkārtotai izmantošanai, iekārtu atkritumu apstrādi, pārstrādi vai reģenerāciju, bez maksas elektroniski vai rokasgrāmatu veidā nosūta šādu informāciju:
7.1.
iekārtu sagatavošana atkārtotai izmantošanai un šo iekārtu atkritumu pārstrādes vai reģenerācijas nosacījumi atbilstoši šajos noteikumos minētajām prasībām;
7.2.
iekārtas sastāvā esošie materiāli, vielas un sastāvdaļas;
7.3.
bīstamo ķīmisko vielu un maisījuma izvietojums iekārtās.
III.Iekārtu atkritumu savākšanas un apstrādes prasības
8.
Šo noteikumu 22. punktā minētās personas un atkritumu apsaimniekotāji nodrošina, ka iekārtu atkritumus savāc atsevišķi no citiem sadzīves un bīstamajiem atkritumiem un nodrošina visu savākto atkritumu pienācīgu apstrādi. Iekārtu atkritumus savāc un pārvadā tā, lai tiktu veicināta veselu iekārtu vai tajās esošo komponentu atkārtota izmantošana un pārstrāde, it īpaši attiecībā uz temperatūras maiņas iekārtām, kurās izmantotas ozonu noārdošas vielas un fluorētas siltumnīcefekta gāzes, dienasgaismas spuldzēm, kurās ir dzīvsudrabs, fotoelementu paneļiem un mazām iekārtām atbilstoši šo noteikumu 2. pielikuma 5. un 6. punktam.
9.
Lai nodrošinātu iekārtu atkritumu sagatavošanu atkārtotai izmantošanai, iekārtu atkritumu savākšanas punkta operators nodrošina, ka:
9.1.
pirms iekārtu atkritumu nosūtīšanas turpmākai apstrādei no atkritumiem tiek nodalīti tādi atkritumi, kuri ir piemēroti sagatavošanai turpmākai izmantošanai;
9.2.
šo noteikumu 9.1. apakšpunktā minētie atkritumi par atlīdzību vai bez atlīdzības tiek nodoti komersantiem, kas veic iekārtu atkritumu sagatavošanu atkārtotai izmantošanai.
10.
Operators iekārtu atkritumu savākšanas punktā vai iekārtu izplatītājs, kad tas piegādā jaunu iekārtu, var atteikties pieņemt iekārtu atkritumus, kuri iekārtās esošo piesārņojošo vielu dēļ rada risku iekārtu atkritumu savākšanas punkta darbiniekiem vai darbiniekiem, kuri piegādā jaunu iekārtu.
11.
Šo noteikumu 10. punktā minēto iekārtu atkritumus apsaimnieko atbilstoši šo noteikumu 18. punktam.
12.
Pirms jebkuras darbības, kas tiek veikta iekārtu atkritumu uzglabāšanas (arī īslaicīgas uzglabāšanas) vietās, lai šo atkritumu ķīmiskās vielas un sastāvdaļas atdalītu, izjauktu, sasmalcinātu, kā arī sagatavotu pārstrādei vai apglabāšanai (turpmāk – apstrāde), operators ierīko:
12.1.
ūdeni un piesārņojošas vielas necaurlaidīgu pretinfiltrācijas segumu;
12.2.
pret nokrišņiem izturīgu pārsegumu;
12.3.
virszemes noteces savākšanas iekārtas un eļļas uztvērējus, ja attiecīgajā uzglabāšanas vietā ir paredzēts uzglabāt iekārtu atkritumus, no kuriem ir iespējama eļļu izdalīšanās.
13.
Lai nodrošinātu visu savākto iekārtu atkritumu pienācīgu apstrādi – visu iekārtu atkritumos esošo šķidrumu izvadīšanu no iekārtu atkritumiem un to apstrādi atbilstoši šo noteikumu 14. punktā minētajām prasībām pirms to turpmākās sagatavošanas atkārtotai izmantošanai, reģenerācijai vai pārstrādei − iekārtu atkritumu apstrādes iekārtās (turpmāk – apstrādes iekārtas), operators ierīko:
13.1.
svarus iekārtu atkritumu masas noteikšanai;
13.2.
ūdeni un piesārņojošās vielas necaurlaidīgu pretinfiltrācijas segumu ar virszemes noteces savākšanas iekārtām un, ja nepieciešams, ar eļļu uztvērējiem, kā arī pret nokrišņiem izturīgu pārsegumu vietās, kurās tiek uzglabāti un apstrādāti iekārtu atkritumi;
13.3.
piemērotas vietas atdalīto sastāvdaļu uzglabāšanai;
13.4.
piemērotas tvertnes bateriju un akumulatoru, polihlorētos bifenilus un polihlorētos terfenilus saturošu kondensatoru un citu bīstamo atkritumu, kā arī radioaktīvo atkritumu uzglabāšanai;
13.5.
notekūdeņu novadīšanas un attīrīšanas sistēmas.
(Grozīts ar MK 12.12.2017. noteikumiem Nr. 753)
14.
Apstrādes iekārtu operators nodrošina šādu apstrādes iekārtās nogādāto atsevišķi savākto iekārtu atkritumu sastāvā esošo vielu un sastāvdaļu atdalīšanu:
14.1.
polihlorētos bifenilus (PHB) saturoši kondensatori atbilstoši normatīvajiem aktiem par atsevišķu veidu bīstamo atkritumu apsaimniekošanu;
14.2.
detaļas, kurās ir dzīvsudrabs (arī dzīvsudrabu saturoši releji, slēdži vai izgaismošanas spuldzes);
14.3.
baterijas un akumulatori;
14.4.
mobilo telefonu un citu iekārtu iespiesto shēmu plates, ja iespiestās shēmas plates virsma ir lielāka par 10 cm2;
14.5.
šķidrā un pastveida tonera, kā arī krāsu tonera kasetnes;
14.6.
plastmasa, kura satur bromētas, liesmu slāpējošas ķīmiskas vielas vai ķīmiskus produktus;
14.7.
azbesta atkritumi un azbestu saturošas sastāvdaļas;
14.8.
katodstaru lampas;
14.9.
hlorfluorogļūdeņraži (freoni, CFC), daļēji halogenēti hlorfluorogļūdeņraži (HCFC) vai fluorogļūdeņraži (HFC), ogļūdeņraži (HC);
14.10.
gāzizlādes spuldzes;
14.11.
šķidro kristālu displeji (arī kopā ar apvalku), ja to virsma pārsniedz 100 cm2, un displeji, ko izgaismo ar gāzizlādes spuldzēm;
14.12.
ārējie elektriskie kabeļi;
14.13.
detaļas, kurās ir ugunsizturīgas keramikas šķiedras atbilstoši Eiropas Parlamenta un Padomes 2008. gada 16. decembra Regulai (EK) Nr. 1272/2008 par vielu un maisījumu klasificēšanu, marķēšanu un iepakošanu un ar ko groza un atceļ Direktīvas 67/548/EEK un 1999/45/EK un groza Regulu (EK) Nr. 1907/2006;
14.14.
detaļas, kuras satur radioaktīvas vielas (izņemot detaļas, ar kurām drīkst veikt darbības bez speciālās atļaujas (licences) vai atļaujas darbībām ar jonizējošā starojuma avotiem atbilstoši normatīvajiem aktiem par radiācijas drošību un kodoldrošību);
14.15.
elektrolītus saturoši kondensatori (augstums > 25 mm, diametrs > 25 mm vai proporcionāli līdzīgs tilpums).
(Grozīts ar MK 12.12.2017. noteikumiem Nr. 753)
15.
Apstrādes iekārtu operators nodrošina šādu atsevišķi savākto iekārtu atkritumu apstrādi:
15.1.
fluorescējošā slāņa atdalīšanu no katodstaru lampām;
15.2.
tādu ozona slāni noārdošo gāzu vai siltumnīcas efekta gāzu izvadīšanu no iekārtām, iekārtu putām un kontūriem, kuru globālās sasilšanas potenciāls ir lielāks par 15, un ozona slāni noārdošo gāzu apstrādi atbilstoši Eiropas Parlamenta un Padomes 2009. gada 16. septembra Regulai (EK) Nr. 1005/2009 par ozona slāni noārdošām vielām;
15.3.
dzīvsudraba atdalīšanu no gāzizlādes spuldzēm.
16.
Apstrādes iekārtu operators nodrošina savākto iekārtu atkritumu apstrādi tā, lai tiktu nodrošināta iekārtu vai to sastāvdaļu sagatavošana atkārtotai izmantošanai vai pārstrāde videi drošā veidā.
17.
Apstrādes iekārtu operators nodrošina, ka iekārtu atkritumu sastāvā esošos materiālus un sastāvdaļas, pēc kuru sasmalcināšanas var rasties bīstamie atkritumi, atdala un uzglabā atsevišķi.
18.
Iekārtu atkritumus, kas ir bīstami vai radioaktīvi, nodod operatoriem, kuri ir saņēmuši atļauju bīstamo vai radioaktīvo atkritumu pārstrādei vai apglabāšanai.
19.
Apstrādes iekārtu operators nodrošina, ka bīstamie atkritumi, kuri radušies iekārtu atkritumu apstrādē, tiek uzskaitīti atbilstoši bīstamo atkritumu uzskaiti regulējošajiem normatīvajiem aktiem.
20.
Ja apstrādes iekārtas operators iekārtu atkritumus vai citus atkritumus, kas radušies pēc apstrādes iekārtas darbības, tajā skaitā bīstamos vai radioaktīvos atkritumus, negatavo atkārtotai izmantošanai, reģenerācijai vai apglabāšanai vai neveic notekūdeņu attīrīšanu, tas pēc vides valsts inspektora pieprasījuma uzrāda līgumus:
20.1.
par atkritumu nodošanu, lai tie tiktu sagatavoti atkārtotai izmantošanai, reģenerācijai vai apglabāšanai;
20.2.
par notekūdeņu attīrīšanu;
20.3.
par eļļainu notekūdeņu attīrīšanu.
21.
Valsts vides dienesta reģionālā vides pārvalde vismaz reizi gadā pārbauda apstrādes iekārtu darbības atbilstību vides aizsardzību regulējošo normatīvo aktu prasībām un atļaujas nosacījumiem. Valsts vides dienests katru gadu līdz 1. maijam iesniedz Vides aizsardzības un reģionālās attīstības ministrijā pārskatu par veiktajām apstrādes iekārtu pārbaudēm.
IV.Iekārtu atkritumu savākšanas, atkārtotas izmantošanas, pārstrādes un reģenerācijas apjomi un termiņi
22.
Iekārtu atkritumu atkārtotas izmantošanas, pārstrādes un reģenerācijas apjomu izpildi šajos noteikumos noteiktajos termiņos nodrošina:
22.1.
iekārtu ražotāji vai to pilnvaroti pārstāvji;
22.2.
iekārtu atkritumu apsaimniekotāji, kas izveidoti atbilstoši normatīvajiem aktiem par atkritumu apsaimniekošanu.
(Grozīts ar MK 12.12.2017. noteikumiem Nr. 753)
22.1
Šo noteikumu 22. punktā minētās personas nodrošina iekārtu savākšanu atbilstoši termiņiem un apjomiem, kas noteikti normatīvajos aktos par kārtību, kādā atbrīvo no dabas resursu nodokļa samaksas par videi kaitīgām precēm.
(MK 12.12.2017. noteikumu Nr. 753 redakcijā)
23.
Šo noteikumu 22. punktā minētās personas atbilstoši normatīvajiem aktiem par atbrīvojumu no dabas resursu nodokļa samaksas par videi kaitīgām precēm bez maksas sniedz informāciju Vides aizsardzības un reģionālās attīstības ministrijas padotībā esošai iestādei par dalīti savākto iekārtu atkritumu daudzumiem (tajā skaitā par iekārtu atkritumu daudzumiem, kas savākti iekārtu atkritumu savākšanas punktos, iekārtu atkritumu apstrādes iekārtās, nodoti atpakaļ iekārtu izplatītājiem).
24.
Šo noteikumu 22. punktā minētās personas katru gadu nodrošina apstrādes iekārtās nogādāto un pienācīgi apstrādāto iekārtu atkritumu reģenerāciju, atkārtotu izmantošanu un pārstrādi atbilstoši šo noteikumu 4. pielikumā minētajiem apjomiem un termiņiem, izmantojot labākās pieejamās tehnoloģijas.
25.
Reģenerēto, pārstrādāto un atkārtotai izmantošanai sagatavoto iekārtu atkritumu apjomu nosaka procentos kā attiecību starp dalīti savākto iekārtu atkritumu svaru attiecīgajā iekārtu kategorijā un to pienācīgi apstrādāto attiecīgās kategorijas iekārtu atkritumu vidējo svaru, kuri nogādāti atkritumu apstrādes iekārtās iepriekšējā gadā, neietverot iekārtu atkritumu apjomus, kuri ir šķiroti vai uzglabāti vai ar kuriem veiktas citas darbības pirms tālākās reģenerācijas.
(MK 12.12.2017. noteikumu Nr. 753 redakcijā)
26.
Šo noteikumu 22. punktā minētās personas nodrošina, lai, sasniedzot šo noteikumu 39. punktā minētos mērķus, veselu iekārtu atkārtota izmantošana tiktu veikta prioritāri.
27.
Lai varētu pierādīt iekārtu atkritumu savākšanas, pārstrādes, atkārtotas izmantošanas un reģenerācijas apjomu, šo noteikumu 22. punktā minētās personas, noslēdzot attiecīgus līgumus ar iekārtu atkritumu savākšanas vietu, apstrādes iekārtu, pārstrādes vai reģenerācijas iekārtu operatoriem, kā arī operatoriem, kas sagatavo iekārtu atkritumus atkārtotai apstrādei, nodrošina, ka iekārtu atkritumu, to sastāvdaļu, materiālu un vielu masa tiek noteikta un reģistrēta tad, kad šie atkritumi tiek izvesti no to savākšanas vietām, nogādāti apstrādes iekārtās un izvesti no apstrādes iekārtām, un tad, kad iekārtu atkritumi tiek nogādāti pārstrādes vai reģenerācijas iekārtās vai iekārtās, kur iekārtu atkritumus sagatavo atkārtotai izmantošanai, un tiek izvesti no minētajām iekārtām.
28.
Iekārtu atkritumu apstrādi var veikt citā Eiropas Savienības dalībvalstī vai ārpus Eiropas Savienības, nodrošinot, ka iekārtu atkritumi tiek pārvadāti atbilstoši normatīvajiem aktiem par atkritumu sūtījumiem, Eiropas Parlamenta un Padomes 2006. gada 14. jūnija Regulai Nr. 1013/2006 par atkritumu sūtījumiem, Eiropas Komisijas 2007. gada 29. novembra Regulai Nr. 1418/2007 par Eiropas Parlamenta un Padomes Regulas Nr. 1013/2006 III vai IIIA pielikumā uzskaitītu dažu atkritumu eksportu reģenerācijai uz valstīm, uz kurām neattiecas Ekonomiskās sadarbības un attīstības organizācijas Lēmums par atkritumu pārrobežu pārvietošanas kontroli, un 1989. gada 22. marta Bāzeles konvencijai par kontroli pār kaitīgo atkritumu robežšķērsojošo transportēšanu un to aizvākšanu. Ārpus Eiropas Savienības eksportēto iekārtu atkritumu masu ieskaita savākšanas, atkārtotas izmantošanas, reģenerācijas un pārstrādes apjomā, ja eksportētājs var pierādīt, ka šo iekārtu atkritumu sagatavošana atkārtotai izmantošanai, pārstrāde vai reģenerācija importētājā valstī ir notikusi atbilstoši prasībām, kas ir līdzvērtīgas šajos noteikumos minētajām prasībām.
V.Ziņojums par iekārtu atkritumu savākšanas, atkārtotas izmantošanas, pārstrādes un reģenerācijas apjomiem
29.
Iekārtu ražotājs, tā pilnvarots pārstāvis vai iekārtu atkritumu apsaimniekotājs (ja iekārtu ražotājs vai tā pilnvarots pārstāvis ar iekārtu atkritumu apsaimniekotāju ir noslēdzis attiecīgu līgumu) elektroniski iesniedz elektrisko un elektronisko iekārtu ražotāju reģistrā un ievada minētā reģistra datubāzē šādus ziņojumus:
29.1.
ziņojumu par ražotāja Latvijas tirgū laisto iekārtu daudzumu (5. pielikums):
29.1.1.
par laikposmu no kārtējā gada 1. janvāra līdz 30. jūnijam – līdz kārtējā gada 30. oktobrim;
29.1.2.
par laikposmu no kārtējā gada 1. jūlija līdz 31. decembrim – līdz nākamā gada 30. aprīlim;
29.2.
ziņojumu par dalīti savākto iekārtu atkritumu daudzumu, kā arī par to iekārtu atkritumu daudzumu, kuri apstrādāti Latvijā vai izvesti apstrādei ārpus Latvijas, un par atkārtoti izmantoto, pārstrādāto, reģenerēto un apglabāto iekārtu atkritumu daudzumu (6. pielikums):
29.2.1.
par laikposmu no kārtējā gada 1. janvāra līdz 30. jūnijam – līdz kārtējā gada 30. oktobrim;
29.2.2.
par laikposmu no kārtējā gada 1. jūlija līdz 31. decembrim – līdz nākamā gada 30. aprīlim.
(MK 12.12.2017. noteikumu Nr. 753 redakcijā)
30.
Iekārtu ražotāji, kas piegādā iekārtas, izmantojot distances līgumu, vai to pilnvaroti pārstāvji iesniedz elektrisko un elektronisko iekārtu ražotāju reģistrā ziņojumu par Eiropas Savienības dalībvalstu tirgos piedāvāto iekārtu daudzumu (7. pielikums). Informāciju par laikposmu no kārtējā gada 1. janvāra līdz 30. jūnijam iesniedz līdz kārtējā gada 30. oktobrim, bet par laikposmu no kārtējā gada 1. jūlija līdz 31. decembrim – līdz nākamā gada 30. aprīlim. Informāciju iesniedz par katru Eiropas Savienības dalībvalsti atsevišķi. Informāciju par Latvijas tirgū piedāvāto iekārtu daudzumu iesniedz atbilstoši šo noteikumu 5. pielikumam.
(MK 12.12.2017. noteikumu Nr. 753 redakcijā)
30.1
Elektrisko un elektronisko iekārtu ražotāju reģistrs nodrošina, ka šo noteikumu 29. un 30. punktā minētā persona ievada elektrisko un elektronisko iekārtu ražotāju reģistra datubāzē šo noteikumu 29. vai 30. punktā minēto ziņojumu tikai vienu reizi. Šo noteikumu 29. un 30. punktā minētajai personai ir tiesības mainīt elektrisko un elektronisko iekārtu ražotāju reģistra datubāzē ievadīto šo noteikumu 29. vai 30. punktā minēto ziņojumu 10 darbdienu laikā no attiecīgā ziņojuma ievadīšanas elektrisko un elektronisko iekārtu ražotāju reģistra datubāzē.
(MK 17.12.2019. noteikumu Nr. 669 redakcijā)
31.
Ja šo noteikumu 29. vai 30. punktā minētos ziņojumus iekārtu ražotāju reģistrā atbilstoši normatīvajiem aktiem par iekārtu ražotāju un bateriju vai akumulatoru ražotāju reģistrācijas kārtību un samaksu par datu uzturēšanu iesniedz iekārtu atkritumu apsaimniekotājs, minētos ziņojumus iesniedz atsevišķi par katru iekārtu ražotāju vai tā pilnvarotu pārstāvi, kurš ar iekārtu atkritumu apsaimniekotāju ir noslēdzis attiecīgu līgumu par iekārtu atkritumu apsaimniekošanu.
32.
Vides aizsardzības un reģionālās attīstības ministrija vai tās pilnvarota institūcija katru gadu apkopo informāciju, veicot attiecīgus aprēķinus, par:
32.1.
šo noteikumu 22.1. apakšpunktā minēto personu un citu personu Latvijas tirgū laisto iekārtu daudzumiem un kategorijām;
32.1.1
šo noteikumu 22. punktā minēto personu un citu personu Latvijā dalīti savākto iekārtu atkritumu svaru, lai nodrošinātu šo noteikumu 40. punktā minēto mērķu sasniegšanu;
32.2.
šo noteikumu 22. punktā minēto personu un citu personu Latvijā apstrādāto, atkārtotai izmantošanai sagatavoto, pārstrādāto un reģenerēto iekārtu atkritumu daudzumiem un kategorijām;
32.3.
šo noteikumu 22. punktā minēto personu un citu personu dalīti savākto iekārtu atkritumu eksportu.
(Grozīts ar MK 12.12.2017. noteikumiem Nr. 753)
33.
Vides aizsardzības un reģionālās attīstības ministrija vai tās pilnvarota institūcija reizi gadā atbilstoši Eiropas Komisijas noteiktajam ziņojuma formātam elektroniski nosūta Eiropas Komisijai datus par iekārtu atkritumu apsaimniekošanu. Minētos datus kopā ar kvalitātes pārbaudes ziņojumu nosūta 18 mēnešu laikā pēc tā pārskata gada beigām, par kuru attiecīgie dati ir savākti. Eiropas Komisijai nosūtītā informācija ir brīvi pieejama sabiedrībai.
(MK 19.03.2019. noteikumu Nr. 126 redakcijā)
34.
Vides aizsardzības un reģionālās attīstības ministrija informē citas Eiropas Savienības dalībvalstis par Latvijā no Eiropas Savienības dalībvalstīm ievesto iekārtu atkritumu apsaimniekošanu, apstrādi, pārstrādi un reģenerāciju vai pieprasa šādu informāciju no citām Eiropas Savienības dalībvalstīm, tai skaitā nodrošinot piekļuvi attiecīgajai informācijai un dokumentiem (arī veikto pārbaužu rezultātiem), izmantojot arī elektroniskās saziņas līdzekļus un ievērojot normatīvos aktus par personas datu aizsardzību.
(MK 12.12.2017. noteikumu Nr. 753 redakcijā)
VI.Noslēguma jautājumi
35.
Atzīt par spēku zaudējušiem:
35.1.
Ministru kabineta 2011. gada 8. novembra noteikumus Nr. 861 "Noteikumi par elektrisko un elektronisko iekārtu kategorijām un par prasībām elektrisko un elektronisko iekārtu marķēšanai un informācijas sniegšanai" (Latvijas Vēstnesis, 2011, 178. nr.);
35.2.
Ministru kabineta 2011. gada 22. novembra noteikumus Nr. 897 "Elektrisko un elektronisko iekārtu atkritumu apsaimniekošanas noteikumi" (Latvijas Vēstnesis, 2011, 193. nr.).
36.
Līdz 2018. gada 14. augustam iekārtas iedala atbilstoši šo noteikumu 1. pielikumā minētajām iekārtu kategorijām un veidiem. No 2018. gada 15. augusta visas iekārtas iedala atbilstoši šo noteikumu 2. pielikumam.
37.
No 2018. gada 15. augusta noteikumi neattiecas uz:
37.1.
šo noteikumu 3. punktā minētajām iekārtām;
37.2.
iekārtām, kas paredzētas sūtīšanai kosmosā;
37.3.
lielizmēra stacionāriem rūpnieciskiem mehānismiem;
37.4.
lielizmēra stacionārām iekārtām, izņemot ierīces šādās iekārtās, kas nav paredzētas un uzstādītas kā šo iekārtu sastāvdaļas;
37.5.
pasažieru vai kravas transportlīdzekļiem, izņemot neapstiprināta tipa elektriskos transportlīdzekļus ar diviem riteņiem;
37.6.
autoceļiem neparedzētu mobilo tehniku, kas paredzēta tikai profesionālām vajadzībām;
37.7.
iekārtām, kas ir īpaši paredzētas pētniecības un izstrādes vajadzībām un ir pieejamas tikai komersantiem;
37.8.
medicīnas ierīcēm un medicīnas ierīcēm, ko lieto in vitro diagnostikā, ja ir paredzams, ka šīs ierīces var būt infekciozas pirms to aprites cikla beigām, un aktīvām implantējamām medicīnas ierīcēm.
38.
Šo noteikumu 5. un 6. punkts attiecas uz iekārtām, kas laistas tirgū pēc 2005. gada 13. augusta.
38.1
Atbilstoši šo noteikumu 6.1 punktam marķē:
38.11.
iekārtas, kuras laistas tirgū pēc 2005. gada 13. augusta, izņemot šo noteikumu 38.1 2. un 38.1 3. apakšpunktā minētās iekārtas;
38.12.
fotoelementu paneļus, kas laisti tirgū pēc 2012. gada 13. augusta;
38.13.
šo noteikumu 2. pielikumā minētās iekārtas, kuras neietilpst šo noteikumu 1. pielikumā, un ir laistas tirgū pēc 2018. gada 1. jūlija.
39.
Līdz 2015. gada 31. decembrim mājsaimniecības iekārtu atkritumu savākšanas apjomam gadā jābūt vismaz četriem kilogramiem atkritumu uz iedzīvotāju vai arī tādam iekārtu atkritumu svaram, kurš Latvijā vidēji tika savākts 2012., 2013. un 2014. gadā, – atkarībā no tā, kurš savākto iekārtu atkritumu svars ir lielāks.
(Grozīts ar MK 12.12.2017. noteikumiem Nr. 753)
40.
Attiecībā uz iekārtu atkritumu dalīto savākšanu jānodrošina šādu minimālo mērķu izpilde:
40.1.
no 2016. gada 1. janvāra līdz 2021. gada 30. jūnijam katru gadu tiek savākts kopējais iekārtu atkritumu svars, kas atbilst 40,5 % no iepriekšējos trijos gados Latvijas tirgū laisto iekārtu vidējā svara;
40.2.
sākot no 2021. gada 1. jūlija, katru gadu tiek savākts kopējais iekārtu atkritumu svars, kas atbilst 65 % no iepriekšējos trijos gados Latvijas tirgū laisto iekārtu vidējā svara.
(MK 12.12.2017. noteikumu Nr. 753 redakcijā)
40.1
Jānodrošina pakāpenisks dalīti savākto atkritumu apjoma pieaugums laikposmā no 2016. gada līdz 2021. gadam, lai nodrošinātu šo noteikumu 40.2. apakšpunktā minētā mērķa sasniegšanu, ja šo noteikumu 40.2. apakšpunktā minētais mērķis nav sasniegts pirms šo noteikumu 40.2. apakšpunktā minētā termiņa.
(MK 12.12.2017. noteikumu Nr. 753 redakcijā)
40.2
Sākot ar 2024. gada 1. janvāri, šo noteikumu 42.2. apakšpunktā minētā minimālā mērķa izpildē neiekļauj Latvijas tirgū laisto fotoelementu paneļu svaru.
(MK 19.12.2023. noteikumu Nr. 809 redakcijā)
41.
Ministru kabineta 2011. gada 22. novembra noteikumu Nr. 897 "Elektrisko un elektronisko iekārtu atkritumu apsaimniekošanas noteikumi" 23. un 24. punktā minētos ziņojumus iesniedz elektrisko un elektronisko iekārtu ražotāju reģistrā līdz 2015. gada 30. janvārim.
42.
Šo noteikumu 29. punktā minētās personas par laikposmu no 2018. gada 1. jūlija līdz 2018. gada 31. decembrim:
42.1.
iesniedz šo noteikumu 29.1.2. un 29.2.2. apakšpunktā minētos ziņojumus atbilstoši šo noteikumu 1. pielikumā minētajām iekārtu kategorijām;
42.2.
nodrošina iekārtu atkritumu sagatavošanu atkārtotai izmantošanai, kā arī to pārstrādi un reģenerāciju atbilstoši šo noteikumu 4. pielikuma II nodaļā noteiktajām prasībām.
(MK 03.07.2018. noteikumu Nr. 391 redakcijā)
43.
Šo noteikumu 29. punktā minētās personas par laikposmu no 2019. gada 1. jūlija līdz 2019. gada 31. decembrim iesniedz šo noteikumu 29.1.2. apakšpunktā minēto ziņojumu atbilstoši šo noteikumu 5. pielikuma redakcijai, kas bija spēkā līdz 2019. gada 31. decembrim.
(MK 17.12.2019. noteikumu Nr. 669 redakcijā; punkts stājas spēkā 01.01.2020., sk. grozījumu 2. punktu)
44.
Šo noteikumu 30. punktā minētās personas par laikposmu no 2019. gada 1. jūlija līdz 2019. gada 31. decembrim iesniedz šo noteikumu 30. punktā minēto ziņojumu atbilstoši šo noteikumu 7. pielikuma redakcijai, kas bija spēkā līdz 2019. gada 31. decembrim.
(MK 17.12.2019. noteikumu Nr. 669 redakcijā; punkts stājas spēkā 01.01.2020., sk. grozījumu 2. punktu)
45.
Šo noteikumu 29. punktā minētās personas par laikposmu no 2023. gada 1. janvāra līdz 2023. gada 31. decembrim iesniedz šo noteikumu 29.1.2. apakšpunktā minēto ziņojumu atbilstoši šo noteikumu 6. pielikuma redakcijai, kas bija spēkā līdz 2023. gada 31. decembrim.
(MK 19.12.2023. noteikumu Nr. 809 redakcijā)
46.
Šo noteikumu 30. punktā minētās personas par laikposmu no 2023. gada 1. janvāra līdz 2023. gada 31. decembrim iesniedz:
46.1.
šo noteikumu 30. punktā minēto ziņojumu atbilstoši šo noteikumu 7. pielikuma redakcijai, kas bija spēkā līdz 2023. gada 31. decembrim;
46.2.
šo noteikumu 30. punktā minēto informāciju atbilstoši šo noteikumu 5. pielikuma redakcijai, kas bija spēkā līdz 2023. gada 31. decembrim.
(MK 19.12.2023. noteikumu Nr. 809 redakcijā)
Informatīva atsauce uz Eiropas Savienības direktīvām
(Grozīta ar MK 19.03.2019. noteikumiem Nr. 126)
Noteikumos iekļautas tiesību normas, kas izriet no:
1)
Eiropas Parlamenta un Padomes 2003. gada 27. janvāra Direktīvas 2002/96/EK par elektrisko un elektronisko iekārtu atkritumiem (EEIA);
2)
Eiropas Parlamenta un Padomes 2012. gada 4. jūlija Direktīvas 2012/19/ES par elektrisko un elektronisko iekārtu atkritumiem (EEIA);
3)
Eiropas Parlamenta un Padomes 2018. gada 30. maija Direktīvas 2018/849/ES, ar ko groza Direktīvas 2000/53/EK par nolietotiem transportlīdzekļiem, 2006/66/EK par baterijām un akumulatoriem, un bateriju un akumulatoru atkritumiem un 2012/19/ES par elektrisko un elektronisko iekārtu atkritumiem.
4)
Eiropas Parlamenta un Padomes 2024. gada 13. marta Direktīvas 2024/884/ES, ar ko groza Direktīvu 2012/19/ES par elektrisko un elektronisko iekārtu atkritumiem (EEIA).
1.
pielikums
Ministru kabineta
2014.gada 8.jūlija
noteikumiem Nr.
388
Iekārtu kategorijas līdz 2018.gada 30. jūnijam
(Pielikums grozīts ar MK 12.12.2017. noteikumiem Nr. 753)

Nr.
p.k.

Elektrisko un elektronisko iekārtu kategorija

Elektrisko un elektronisko iekārtu kategorijā ietilpstošie elektrisko un elektronisko iekārtu veidi (indikatīvs saraksts)

1.

1. kategorija. Liela izmēra mājsaimniecības iekārtas  

2.

1.1. kategorija. Liela izmēra mājsaimniecības iekārtas (izņemot liela izmēra dzesēšanas iekārtas, saldētavas un ledusskapjus)

1.1.1. citas liela izmēra iekārtas, ko izmanto ēdiena, pārtikas pagatavošanai un pārtikas apstrādei;

1.1.2. veļas mazgāšanas mašīnas;

1.1.3. drēbju žāvētavas;

1.1.4. trauku mazgāšanas mašīnas;

1.1.5. kulinārās apstrādes aprīkojums;

1.1.6. elektriskās krāsnis;

1.1.7. elektriskās plītiņas, elektriskie šķīvju sildītāji;

1.1.8. mikroviļņu krāsnis;

1.1.9. elektriskās sildīšanas ierīces;

1.1.10. elektriskie radiatori;

1.1.11. citas liela izmēra iekārtas telpu, gultu un sēdēšanai paredzētu mēbeļu apsildīšanai;

1.1.12. elektriskie ventilatori;

1.1.13. gaisa kondicionēšanas iekārtas;

1.1.14. citas ventilācijas, izplūdes ventilācijas un kondicionēšanas iekārtas

3.

1.2. kategorija. Liela izmēra dzesēšanas iekārtas, saldētavas un ledusskapji

1.2.1. liela izmēra dzesēšanas ierīces;

1.2.2. ledusskapji;

1.2.3. saldētavas;

1.2.4. citas liela izmēra iekārtas, ko izmanto pārtikas dzesēšanai, saglabāšanai un glabāšanai

4.

2. kategorija. Maza izmēra mājsaimniecības iekārtas

2.1. putekļu sūcēji;

2.2. elektriskās sukas;

2.3. citas tīrīšanas iekārtas;

2.4. ierīces, ko izmanto šūšanai, adīšanai, aušanai un citādai tekstilmateriālu apstrādei;

2.5. gludekļi un citas iekārtas gludināšanai, rullēšanai un citādai apģērbu kopšanai;

2.6. tosteri;

2.7. cepšanas ierīces;

2.8. dzirnaviņas, kafijas automāti un ierīces trauku vai iepakojuma atvēršanai vai noslēgšanai;

2.9. elektriskie naži;

2.10. matu griešanas, žāvēšanas, zobu tīrīšanas, skūšanās, masāžas un citas ķermeņa kopšanas ierīces;

2.11. pulksteņi, rokas pulksteņi un iekārtas laika mērīšanai, rādīšanai vai reģistrēšanai;

2.12. svari

5.

3. kategorija. Informācijas tehnoloģiju un elektrosakaru iekārtas  

6.

3.1. kategorija. Informācijas tehnoloģiju un elektrosakaru iekārtas (izņemot mobilos telefonus un monitorus)

3.1.1. iekārtas centralizētai datu apstrādei:

3.1.1.1. lieldatori;

3.1.1.2. minidatori;

3.1.1.3. printeri;

3.1.2. personālā datortehnika:

3.1.2.1. personālie datori (arī centrālais procesors, pele un tastatūra);

3.1.2.2. klēpja datori (arī centrālais procesors, pele un tastatūra);

3.1.2.3. piezīmjdatori;

3.1.2.4. plaukstdatori;

3.1.2.5. printeri;

3.1.2.6. kopēšanas iekārtas;

3.1.2.7. elektriskās un elektroniskās rakstāmmašīnas;

3.1.2.8. kabatas un galda elektroniskās skaitļošanas mašīnas (kalkulatori);

3.1.2.9. citas iekārtas informācijas vākšanai, glabāšanai, apstrādei, noformēšanai vai pārraidīšanai elektroniskā veidā;

3.1.3. lietotāju termināliekārtas un sistēmas;

3.1.4. faksimili;

3.1.5. teleksi;

3.1.6. telefoni;

3.1.7. telefona automāti;

3.1.8. bezvada telefoni;

3.1.9. automātisko atbildētāju sistēmas;

3.1.10. citas iekārtas skaņas, attēlu vai citas informācijas pārraidīšanai ar elektrosakaru starpniecību

7.

3.2. kategorija. Mobilie telefoni 3.2.1. mobilie telefoni

8.

3.3. kategorija. Monitori 3.3.1. monitori

9.

4. kategorija. Patērētāju iekārtas un fotoelementu paneļi  

10.

4.1. kategorija. Patērētāju iekārtas (izņemot televizorus)

4.1.1. radioaparāti;

4.1.2. videokameras;

4.1.3. videomagnetofoni;

4.1.4. augstas precizitātes magnetofoni;

4.1.5. audiopastiprinātāji;

4.1.6. mūzikas instrumenti;

4.1.7. citas preces vai iekārtas skaņas vai attēlu, arī signālu ierakstīšanai vai atskaņošanai vai citas skaņu un attēlu izplatīšanas tehnoloģijas, izņemot elektrosakarus

11.

4.2. kategorija. Televizori 4.2.1. televizori

12.

4.3. kategorija. Fotoelementu paneļi 4.3.1. fotoelementu paneļi

13.

5. kategorija. Apgaismes iekārtas  

14.

5.1. kategorija. Apgaismes iekārtas (izņemot gāzizlādes spuldzes)

5.1.1. dienasgaismas spuldžu gaismekļi, izņemot mājsaimniecību gaismekļus;

5.1.2. cits apgaismojums vai iekārtas apgaismošanai vai gaismas kontrolei, tai skaitā gaismu emitējošās diožu spuldzes (LED), izņemot kvēlspuldzes

15.

5.2. kategorija. Gāzizlādes spuldzes

5.2.1. taisnās dienasgaismas spuldzes;

5.2.2. kompaktās dienasgaismas spuldzes;

5.2.3. augstas intensitātes gāzizlādes spuldzes, arī augstspiediena nātrija spuldzes un metālu halīdu spuldzes;

5.2.4. zema spiediena nātrija spuldzes

16.

6. kategorija. Elektriskie un elektronikas instrumenti (izņemot liela izmēra stacionārus ražošanas mehānismus, kas nav pārnēsājami vai ir pastāvīgi piestiprināti)

6.1. urbji;

6.2. zāģi;

6.3. šujmašīnas;

6.4. virpošanas, frēzēšanas, noslīpēšanas, slīpēšanas, zāģēšanas, griešanas, lokšņu griešanas, urbšanas, caurumošanas, štancēšanas, ielocīšanas, liekšanas vai tamlīdzīgas koka, metāla un citu materiālu apstrādes iekārtas;

6.5. kniedēšanas, naglošanas vai skrūvēšanas instrumenti vai kniežu, naglu, skrūvju izņemšanas instrumenti un tiem līdzīgi instrumenti;

6.6. metināšanas, lodēšanas instrumenti vai tiem līdzīgi instrumenti;

6.7. šķidrumu vai gāzveida vielu izsmidzināšanas, izplatīšanas, izkliedēšanas iekārtas vai cita veida apstrādes iekārtas;

6.8. pļaušanas vai citi dārza darba rīki

17.

7. kategorija. Rotaļlietas, atpūtas un sporta piederumi

7.1. elektriskie vilcieni vai sacīkšu automašīnu komplekti;

7.2. rokas videospēļu pultis;

7.3. videospēles;

7.4. datori braukšanai ar velosipēdu, skriešanai, airēšanai u. c.;

7.5. sporta piederumi ar elektriskām vai elektroniskām detaļām;

7.6. naudas un žetonu elektroniskie azartspēļu automāti

18.

8. kategorija. Medicīniskās ierīces (izņemot visas implantētās un inficētās medicīniskās ierīces)

8.1. medicīniskās terapeitiskās rentgenstaru ierīces;

8.2. medicīniskās ierīces, ko lieto kardioloģijā;

8.3. hemodialīzes ierīces;

8.4. mākslīgās plaušu ventilācijas ierīces;

8.5. medicīniskās ierīces, ko lieto kodolmedicīnā;

8.6. laboratorijas ierīces, ko lieto in vitro diagnostikā;

8.7. medicīnas laboratoriju analizatori;

8.8. saldējamās ierīces;

8.9. testi grūtniecības noteikšanai;

8.10. citas ierīces, ko lieto slimību, traumu vai nespējas diagnostikai, profilaksei, novērošanai, ārstēšanai, atvieglošanai

19.

9. kategorija. Monitoringa un kontroles instrumenti

9.1. dūmu detektori;

9.2. siltumregulatori;

9.3. termostati;

9.4. mērīšanas, svēršanas vai regulēšanas/koriģēšanas ierīces mājsaimniecībām vai laboratorijām;

9.5. citi monitoringa un kontroles instrumenti, ko izmanto rūpnieciskās iekārtās (piemēram, kontrolpaneļos)

20.

10. kategorija. Automātiskie sadalītāji

10.1. karsto dzērienu automātiskie sadalītāji;

10.2. karsto vai auksto dzērienu pudeļu vai kārbu automātiskie sadalītāji;

10.3. cietu produktu automātiskie sadalītāji;

10.4. bankas automāti; bankomāti;

10.5. visas ierīces, kas automātiski izsniedz jebkura veida preces

2.
pielikums
Ministru kabineta
2014.gada 8.jūlija
noteikumiem Nr.
388
Iekārtu kategorijas no 2018. gada 1. jūlija
(Pielikums MK 19.12.2023. noteikumu Nr. 809 redakcijā)

Nr.
p. k.

Elektrisko un elektronisko iekārtu kategorija

Elektrisko un elektronisko iekārtu kategorijā ietilpstošie elektrisko un elektronisko iekārtu veidi (indikatīvs saraksts)

1.

1. kategorija. Temperatūras maiņas iekārtas

1.1. ledusskapji;
1.2. saldētavas;
1.3. iekārtas, kas automātiski izsniedz aukstus produktus;
1.4. gaisa kondicionēšanas iekārtas;
1.5. mitruma aizvadīšanas iekārtas;
1.6. siltumsūkņi;
1.7. radiatori, kas satur eļļu;
1.8. citas temperatūras maiņas iekārtas, kas temperatūras maiņai izmanto citus šķidrumus, nevis ūdeni

2.

2. kategorija. Ekrāni, monitori un iekārtas ar ekrānu, kura virsmas laukums ir lielāks par 100 cm2

2.1. ekrāni;
2.2. televizori;
2.3. šķidro kristālu displeja (LCD) fotorāmji;
2.4. monitori;
2.5. klēpjdatori;
2.6. piezīmjdatori

3.

3. kategorija. Spuldzes

3.1. taisnās dienasgaismas spuldzes;
3.2. kompaktas dienasgaismas spuldzes;
3.3. dienasgaismas spuldzes;
3.4. augstas intensitātes gāzizlādes spuldzes (tai skaitā augstspiediena nātrija spuldzes un metālu halogenīdu spuldzes);
3.5. zema spiediena nātrija spuldzes;
3.6. gaismu emitējošās diožu spuldzes (LED)

4. 4. kategorija. Liela izmēra iekārtas (vismaz viens ārējais izmērs pārsniedz 50 cm)  

4.1.

4.1. kategorija. Liela izmēra iekārtas (vismaz viens ārējais izmērs pārsniedz 50 cm), tai skaitā mājsaimniecības preces, IT un telesakaru iekārtas, patērētāju iekārtas, gaismekļi, skaņas vai attēlus demonstrējošas iekārtas, mūzikas ierīces, elektriski un elektroniski instrumenti, rotaļlietas, izklaides un sporta aprīkojums, medicīnas ierīces, monitoringa un kontroles instrumenti, automātiskie sadalītāji, ierīces elektriskās strāvas ražošanai un citas iekārtas (izņemot šā pielikuma 1., 2. un 3. kategorijā ietilpstošās iekārtas un fotoelementu paneļus)

4.1. veļas mazgājamās mašīnas;
4.2. veļas žāvētāji;
4.3. trauku mazgājamās mašīnas;
4.4. kulinārās apstrādes aprīkojums;
4.5. elektriskās krāsnis;
4.6. elektriskās plītiņas;
4.7. gaismekļi;
4.8. skaņas vai attēlus demonstrējošas iekārtas;
4.9. mūzikas ierīces (izņemot baznīcās uzstādītas ērģeles);
4.10. ierīces, ko izmanto adīšanai un aušanai;
4.11. lieli lieldatori/centrālie procesori;
4.12. lielas poligrāfijas mašīnas;
4.13. kopēšanas iekārtas;
4.14. lieli naudas un žetonu elektroniskie azartspēļu automāti;
4.15. lielas medicīnas ierīces;
4.16. lieli monitoringa un kontroles instrumenti;
4.17. lielas iekārtas, kas automātiski izsniedz preces un naudu

4.2. 4.2. kategorija. Fotoelementu paneļi un invertori  

5.

5. kategorija. Maza izmēra iekārtas (neviens ārējais izmērs nepārsniedz 50 cm), tai skaitā mājsaimniecības preces, patērētāju iekārtas, gaismekļi, skaņas vai attēlus demonstrējošas iekārtas, mūzikas ierīces, elektriski un elektroniski instrumenti, rotaļlietas, izklaides un sporta aprīkojums, medicīnas ierīces, monitoringa un kontroles instrumenti, automātiskie sadalītāji, ierīces elektriskās strāvas ražošanai un citas iekārtas (izņemot šā pielikuma 1., 2., 3. un 6. kategorijā ietilpstošās iekārtas)

5.1. putekļu sūcēji;
5.2. elektriskās sukas;
5.3. ierīces, ko izmanto šūšanai;
5.4. gaismekļi;
5.5. mikroviļņu krāsnis;
5.6. ventilācijas aprīkojums;
5.7. gludekļi;
5.8. grauzdēšanas ierīces;
5.9. elektriskie naži;
5.10. elektriskās tējkannas;
5.11. pulksteņi un rokas pulksteņi;
5.12. elektriskas skūšanās ierīces;
5.13. svari;
5.14. ierīces matu un ķermeņa kopšanai;
5.15. kalkulatori;
5.16. radioaparāti;
5.17. videokameras;
5.18. videomagnetofoni;
5.19. augstas precizitātes (Hi-Fi) iekārtas;
5.20. mūzikas instrumenti;
5.21. skaņas vai attēlus demonstrējošas iekārtas;
5.22. elektriskas un elektroniskas rotaļlietas;
5.23. sporta aprīkojums;
5.24. datori braukšanai ar velosipēdu, skriešanai, airēšanai u. c.;
5.25. dūmu detektori;
5.26. siltumregulatori;
5.27. termostati;
5.28. mazi elektriskie un elektronikas instrumenti;
5.29. mazas medicīnas ierīces;
5.30. mazi monitoringa un kontroles instrumenti;
5.31. mazas iekārtas, kas automātiski izsniedz preces;
5.32. mazas ierīces, kurās iestrādāti fotoelementu paneļi

6.

6. kategorija. Mazas informācijas tehnoloģiju un telekomunikāciju iekārtas (neviens ārējais izmērs nepārsniedz 50 cm)

6.1. mobilie telefoni;
6.2. globālās pozīcijas noteikšanas sistēmu iekārtas;
6.3. maršrutētāji;
6.4. personālie datori;
6.5. printeri;
6.6. telefoni;
6.7. kabatas kalkulatori

3.
pielikums
Ministru kabineta
2014.gada 8.jūlija
noteikumiem Nr.
388
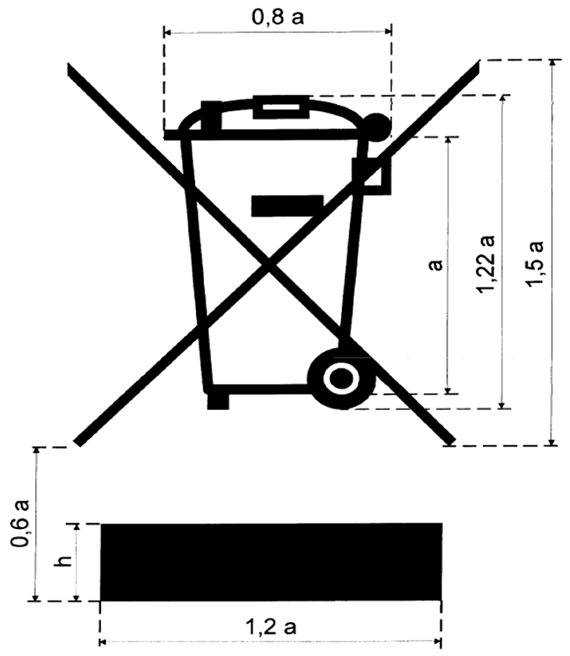
Elektrisko un elektronisko iekārtu marķējuma simbols

Apzīmējumi:

a - augstums

h - platums

4.
pielikums
Ministru kabineta
2014.gada 8.jūlija
noteikumiem Nr.
388
Atkārtotai izmantošanai sagatavoto, pārstrādāto un reģenerēto iekārtu atkritumu minimālie apjomi
(Pielikums MK 19.12.2023. noteikumu Nr. 809 redakcijā)

I. Minimālie apjomi, kādos iekārtu atkritumus sagatavo atkārtotai izmantošanai, pārstrādā un reģenerē, laikposmā līdz 2015. gada 14. augustam

Nr.
p. k.

Iekārtu kategorija atbilstoši Ministru kabineta 2014. gada 8. jūlija noteikumu Nr. 388 "Elektrisko un elektronisko iekārtu kategorijas un marķēšanas prasības un šo iekārtu atkritumu apsaimniekošanas prasības un kārtība" (turpmāk – noteikumi) 1. pielikumam

Atkārtotai izmantošanai sagatavoto un pārstrādāto iekārtu atkritumu apjoms (%)

Reģenerēto iekārtu atkritumu apjoms (%)

1.

1. kategorija. Liela izmēra mājsaimniecības iekārtas

75

80

2.

1.1. kategorija. Liela izmēra mājsaimniecības iekārtas (izņemot liela izmēra dzesēšanas iekārtas, saldētavas un ledusskapjus)

75

80

3.

1.2. kategorija. Liela izmēra dzesēšanas iekārtas, saldētavas un ledusskapji

75

80

4.

2. kategorija. Maza izmēra mājsaimniecības iekārtas

50

70

5.

3. kategorija. Informācijas tehnoloģiju un elektrosakaru iekārtas

70

75

6.

3.1. kategorija. Informācijas tehnoloģiju un elektrosakaru iekārtas (izņemot mobilos telefonus un monitorus)

70

75

7.

3.2. kategorija. Mobilie telefoni

70

75

8.

3.3. kategorija. Monitori

70

75

9.

4. kategorija. Patērētāju iekārtas

65

75

10.

4.1. kategorija. Patērētāju iekārtas (izņemot televizorus)

65

75

11.

4.2. kategorija. Televizori

65

75

12.

5. kategorija. Apgaismes iekārtas    

13.

5.1. kategorija. Apgaismes iekārtas (izņemot gāzizlādes spuldzes)

50

70

14.

5.2. kategorija. Gāzizlādes spuldzes

80

15.

6. kategorija. Elektriskie un elektronikas instrumenti (izņemot liela izmēra stacionārus ražošanas mehānismus, kas nav pārnēsājami vai ir pastāvīgi piestiprināti)

50

70

16.

7. kategorija. Rotaļlietas, atpūtas un sporta piederumi

50

70

17.

8. kategorija. Medicīniskās ierīces (izņemot visas implantētās un inficētās medicīniskās ierīces)

50

70

18.

9. kategorija. Monitoringa un kontroles instrumenti

50

70

19.

10. kategorija. Automātiskie sadalītāji

75

80

 

II. Minimālie apjomi, kādos iekārtu atkritumus sagatavo atkārtotai izmantošanai, pārstrādā un reģenerē, laikposmā no 2015. gada 15. augusta līdz 2018. gada 30. jūnijam

Nr.
p. k.

Iekārtu kategorija atbilstoši noteikumu 1. pielikumam

Atkārtotai izmantošanai sagatavoto un pārstrādāto iekārtu atkritumu apjoms (%)

Reģenerēto iekārtu atkritumu apjoms (%)

1.

1. kategorija. Liela izmēra mājsaimniecības iekārtas

80

85

2.

1.1. kategorija. Liela izmēra mājsaimniecības iekārtas (izņemot liela izmēra dzesēšanas iekārtas, saldētavas un ledusskapjus)

80

85

3.

1.2. kategorija. Liela izmēra dzesēšanas iekārtas, saldētavas un ledusskapji

80

85

4.

2. kategorija. Maza izmēra mājsaimniecības iekārtas

55

75

5.

3. kategorija. Informācijas tehnoloģiju un elektrosakaru iekārtas

70

80

6.

3.1. kategorija. Informācijas tehnoloģiju un elektrosakaru iekārtas (izņemot mobilos telefonus un monitorus)

70

80

7.

3.2. kategorija. Mobilie telefoni

70

80

8.

3.3. kategorija. Monitori

70

80

9.

4. kategorija. Patērētāju iekārtas

70

80

10.

4.1. kategorija. Patērētāju iekārtas (izņemot televizorus)

70

80

11.

4.2. kategorija. Televizori

70

80

12.

5. kategorija. Apgaismes iekārtas    

13.

5.1. kategorija. Apgaismes iekārtas (izņemot gāzizlādes spuldzes)

55

75

14.

5.2. kategorija. Gāzizlādes spuldzes

80

15.

6. kategorija. Elektriskie un elektronikas instrumenti (izņemot liela izmēra stacionārus ražošanas mehānismus, kas nav pārnēsājami vai ir pastāvīgi piestiprināti)

55

75

16.

7. kategorija. Rotaļlietas, atpūtas un sporta piederumi

55

75

17.

8. kategorija. Medicīniskās ierīces (izņemot visas implantētās un inficētās medicīniskās ierīces)

55

75

18.

9. kategorija. Monitoringa un kontroles instrumenti

55

75

19.

10. kategorija. Automātiskie sadalītāji

80

85

 

III. Minimālie apjomi, kādos iekārtu atkritumus sagatavo atkārtotai izmantošanai, pārstrādā un reģenerē, laikposmā no 2018. gada 1. jūlija

Nr.
p. k.

Iekārtu kategorija atbilstoši noteikumu 2. pielikumam

Atkārtotai izmantošanai sagatavoto un pārstrādāto iekārtu atkritumu apjoms (%)

Reģenerēto iekārtu atkritumu apjoms (%)

1.

1. kategorija. Temperatūras maiņas iekārtas

80

85

2.

2. kategorija. Ekrāni, monitori un iekārtas ar ekrānu, kura virsmas laukums ir lielāks par 100 cm2

70

80

3.

3. kategorija. Spuldzes

80

4.

4. kategorija. Liela izmēra iekārtas (vismaz viens ārējais izmērs pārsniedz 50 cm)

 

 

4.1. 4.1. kategorija. Liela izmēra iekārtas (vismaz viens ārējais izmērs pārsniedz 50 cm), tai skaitā mājsaimniecības preces, IT un telesakaru iekārtas, patērētāju iekārtas, gaismekļi, skaņas vai attēlus demonstrējošas iekārtas, mūzikas ierīces, elektriski un elektroniski instrumenti, rotaļlietas, izklaides un sporta aprīkojums, medicīnas ierīces, monitoringa un kontroles instrumenti, automātiskie sadalītāji, ierīces elektriskās strāvas ražošanai un citas iekārtas (izņemot noteikumu 2. pielikuma 1., 2. un 3. kategorijā ietilpstošās iekārtas un fotoelementu paneļus) 80 85
4.2. 4.2. kategorija. Fotoelementu paneļi un invertori 0 0

5.

5. kategorija. Maza izmēra iekārtas (neviens ārējais izmērs nepārsniedz 50 cm), tai skaitā mājsaimniecības preces, patērētāju iekārtas, gaismekļi, skaņas vai attēlus demonstrējošas iekārtas, mūzikas ierīces, elektriski un elektroniski instrumenti, rotaļlietas, izklaides un sporta aprīkojums, medicīnas ierīces, monitoringa un kontroles instrumenti, automātiskie sadalītāji, ierīces elektriskās strāvas ražošanai un citas iekārtas (izņemot noteikumu 2. pielikuma 1., 2., 3. un 6. kategorijā ietilpstošās iekārtas)

55

75

6.

6. kategorija. Mazas informācijas tehnoloģiju un telekomunikāciju iekārtas (neviens ārējais izmērs nepārsniedz 50 cm)

55

75

5.
pielikums
Ministru kabineta
2014.gada 8.jūlija
noteikumiem Nr.
388
Ziņojums par Latvijas tirgū laisto iekārtu daudzumu
(Pielikums MK 19.12.2023. noteikumu Nr. 809 redakcijā)
6.
pielikums
Ministru kabineta
2014.gada 8.jūlija
noteikumiem Nr.
388
Ziņojums par dalīti savākto iekārtu atkritumu daudzumu un par to iekārtu atkritumu daudzumu, kuri apstrādāti Latvijā vai izvesti apstrādei ārpus Latvijas, kā arī par atkārtotai izmantošanai sagatavoto, pārstrādāto un reģenerēto iekārtu atkritumu daudzumu
(Pielikums MK 19.12.2023. noteikumu Nr. 809 redakcijā)
7.
pielikums
Ministru kabineta
2014.gada 8.jūlija
noteikumiem Nr.
388
Ziņojums par Eiropas Savienības dalībvalstu tirgos laisto iekārtu daudzumu
(Pielikums MK 19.12.2023. noteikumu Nr. 809 redakcijā)