Noteikumi (konsolidētā versija)

25-TA-896
Noteikumi par lielgabarīta un smagsvara pārvadājumiem
Izdoti saskaņā ar likuma "Par autoceļiem" 5.panta 6.2 un septīto daļu
I.Vispārīgie jautājumi
1.
Noteikumi nosaka kārtību, kādā izsniedz lielgabarīta un smagsvara pārvadājumu (turpmāk – pārvadājumi) atļaujas (turpmāk – atļauja), kārtību, kādā tiek veikti pārvadājumi, un gadījumus, kad, veicot pārvadājumus, nav nepieciešams saņemt atļauju.
(MK 13.06.2023. noteikumu Nr. 296 redakcijā)
2.
Noteikumi attiecas uz pārvadājumiem (pārvietošanos pa ceļiem), kuros ar kravu vai pasažieriem vai bez kravas vai pasažieriem pa ceļu (autoceļu vai ielu) braucoša mehāniskā transportlīdzekļa vai tā sastāva izmēri vai faktiskā masa, vai ass slodze (vismaz viens parametrs) pārsniedz Ministru kabineta 2015. gada 2. jūnija noteikumu Nr. 279 "Ceļu satiksmes noteikumi" (turpmāk – Ceļu satiksmes noteikumi) 2. pielikumā minētos lielumus.
(MK 13.06.2023. noteikumu Nr. 296 redakcijā)
3.
Lielgabarīta transportlīdzeklis ir mehāniskais transportlīdzeklis vai tā sastāvs (ar kravu vai bez tās), kuram vismaz viens izmērs pārsniedz Ceļu satiksmes noteikumu 2. pielikumā minēto lielumu. Smagsvara transportlīdzeklis ir mehāniskais transportlīdzeklis vai tā sastāvs (ar kravu vai pasažieriem vai bez kravas vai pasažieriem), kura faktiskā masa vai ass slodze pārsniedz Ceļu satiksmes noteikumu 2. pielikumā minēto lielumu.
(Grozīts ar MK 24.05.2016. noteikumiem Nr. 325)
4.
Pārvadājumu var veikt tikai ar tā specifikai atbilstošu transportlīdzekli vai transportlīdzekļu sastāvu, nepārsniedzot tā pilnu masu.
(MK 13.06.2023. noteikumu Nr. 296 redakcijā)
5.
(Svītrots ar MK 13.06.2023. noteikumiem Nr. 296)
6.
Atļauja nav nepieciešama:
6.1.
mehāniskā transportlīdzekļa vilkšanai uz stāvvietu vai remonta vietu, ja tam ir radušies bojājumi, kuru dēļ tam aizliegts braukt;
6.2.
ar maināmu tehnoloģisko agregātu vai maināmu velkamo iekārtu aprīkotam ceļu ikdienas uzturēšanas transportlīdzeklim, kura parametri nepārsniedz:
6.2.1.
platumu 4 m;
6.2.2.
ass slodzi 11 t;
6.2.3.
ass slodzi 13 t, ja tai ir dubultriteņi.
6.3.
Nacionālo bruņoto spēku organizēto pārvadājumu kārtību nosaka Aizsardzības ministrija, ievērojot šo noteikumu 13.3. un 19.punktus.
(MK 13.06.2023. noteikumu Nr. 296 redakcijā)
6.1
Nedalāma krava ir tāda kravas vienība, kuru nav iespējams sadalīt mazākās kravas vienībās bez tās papildu izjaukšanas un ar to saistītiem izdevumiem vai bojājuma draudiem. Nedalāmas kravas jēdziens nav attiecināms uz gadījumu, ja, sadalot kravu, nemainās parametri (vismaz viens parametrs), kuru dēļ ir izsniegta atļauja.
(MK 13.06.2023. noteikumu Nr. 296 redakcijā)
6.2
Krava, kuru ir iespējams sadalīt divās vai vairākās kravās bez tās papildu izjaukšanas un ar to saistītiem izdevumiem vai bojājuma draudiem (tostarp lejamās, beramās un modulārās kravas), ir dalāma krava, un tās pārvadāšanai ar lielākiem gabarītiem vai lielāku faktisko masu, nekā noteikts Ceļu satiksmes noteikumos, jāsaņem atļauja atbilstoši šo noteikumu ​35.36. un 37. punktam.
(MK 13.06.2023. noteikumu Nr. 296 redakcijā)
6.3
Atļauju izsniedz:
6.31.
vienam pārvadājumam pa atļaujā norādīto maršrutu uz noteiktu termiņu, kas nepārsniedz trīs dienas;
6.32.
vairākiem pārvadājumiem uz noteiktu termiņu, kas nav īsāks par četrām dienām un nepārsniedz gadu, saskaņā ar šo noteikumu 33., 34., 35., 36., 37., 38., 38.2, 38.338.4 un 38.5 punktu.
(MK 13.06.2023. noteikumu Nr. 296 redakcijā)
6.4
Atļauju šo noteikumu 38. un 38.2 punktā minētajiem pārvadājumiem uz gadu izsniedz Latvijā reģistrētai traktortehnikai, pamatojoties uz Valsts tehniskās uzraudzības aģentūras izsniegtu atļauju piedalīties ceļu satiksmē, vai ārvalstīs reģistrētai traktortehnikai, kurai ir derīga atļauja piedalīties ceļu satiksmē.
(MK 13.06.2023. noteikumu Nr. 296 redakcijā)
II.Atļaujas izsniegšana un maršruta saskaņošana
(Nodaļas nosaukums MK 01.10.2019. noteikumu Nr. 463 redakcijā)
7.
Atļaujā iekļauj šādu informāciju:
7.1.
(svītrots ar MK 13.06.2023. noteikumiem Nr. 296);
7.2.
transportlīdzekļa vai transportlīdzekļu sastāva parametri (ar kravu) – garums, platums, augstums no brauktuves, ass slodze, attālums starp asu centriem un kopējā masa;
7.3.
transportlīdzekļa marka un valsts reģistrācijas numurs;
7.4.
pārvadājuma maršruts vai ceļu tīkls;
7.5.
pārvadājuma laiks;
7.6.
nosacījumi, kas jāievēro, veicot pārvadājumu (ja nepieciešams);
7.7.
datums un laiks, kad atļauja izsniegta.
(MK 01.10.2019. noteikumu Nr. 463 redakcijā, kas grozīta ar MK 13.06.2023. noteikumiem Nr. 296)
8.
(Svītrots ar MK 13.06.2023. noteikumiem Nr. 296)
9.
(Svītrots ar MK 13.06.2023. noteikumiem Nr. 296)
10.
(Svītrots ar MK 13.06.2023. noteikumiem Nr. 296)
11.
(Svītrots ar MK 12.07.2011. noteikumiem Nr.557)
12.
Lai saņemtu atļauju, iesniedzējs iesniedz valsts sabiedrībā ar ierobežotu atbildību "Latvijas Valsts ceļi" atļaujas pieteikumu. Tajā norāda šādu informāciju:
12.1.
iesniedzēja vārds un uzvārds vai juridiskās personas nosaukums un reģistrācijas numurs, kā arī adrese, e-pasta adrese un tālruņa numurs;
12.2.
transportlīdzekļa vai transportlīdzekļu sastāva parametri (ar kravu) – garums, platums, augstums no brauktuves, ass slodze, attālums starp asu centriem un kopējā masa;
12.3.
transportlīdzekļa marka un valsts reģistrācijas numurs;
12.4.
ziņas par pārvadājumu:
12.4.1.
vēlamais maršruts, ja nepieciešama šo noteikumu 6.31. apakšpunktā minētā atļauja;
12.4.2.
paredzētais ceļu tīkls (katru atsevišķu pārvadājumu pārvadātājs norāda transportlīdzekļa ceļazīmē), ja nepieciešama šo noteikumu 6.32. apakšpunktā minētā atļauja;
12.5.
pārvadājuma laiks;
12.6.
saskaņojums (ja ir saņemts) ar ceļa īpašnieku, ja ceļš nav valsts autoceļš.
(MK 13.06.2023. noteikumu Nr. 296 redakcijā)
12.1
Iesniedzējs ir atbildīgs par šo noteikumu 12. punktā minētās iesniedzamās informācijas pareizību.
(MK 13.06.2023. noteikumu Nr. 296 redakcijā)
13.
Valsts sabiedrība ar ierobežotu atbildību "Latvijas Valsts ceļi" izvērtē atļaujas pieteikumu un:
13.1.
ja nav nepieciešama maršruta papildu izpēte, triju darbdienu laikā pēc atļaujas pieteikuma saņemšanas pieņem lēmumu par atļaujas izsniegšanu vai atteikumu izsniegt atļauju;
13.2.
ja ir nepieciešama maršruta papildu izpēte vai trešo pušu saskaņojumu saņemšana, triju darbdienu laikā pēc izpētes rezultātu vai saskaņojumu saņemšanas pieņem lēmumu par atļaujas izsniegšanu vai atteikumu izsniegt atļauju;
13.3.
ja nepieciešams, saskaņo pārvadājuma maršrutu (izņemot šo noteikumu 33., 34., 35., 36., 37., 38., 38.2, 38.338.4 ​​​​​un 38.5 punktā minētos gadījumus):
13.3.1.
ar ceļu (ielu) īpašnieku vai tā pilnvarotu personu, pieprasot uz tā norādīto e-pasta adresi, ja tā nav norādīta, tad uz elektronisko adresi, kas ir personalizēta pastkastīte portālā Latvija.gov.lv (nesaņemot atbildi vai iebildumu 8 stundu laikā no pieprasījuma nosūtīšanas brīža darba laikā, tiek saskaņots noklusējot) pārvadājumam pa tā ceļiem, ja transportlīdzekļa vai transportlīdzekļu sastāva parametri pārsniedz vismaz vienu no šādiem lielumiem:
13.3.1.1.
augstums no brauktuves virsmas – 4,5 m;
13.3.1.2.
platums – 3,49 m;
13.3.1.3.
garums – 22 m;
13.3.1.4.
faktiskā masa – 52 t;
13.3.2.
ar attiecīgo elektrotransporta dienestu vai tā pilnvarotu personu, ja lielgabarīta vai smagsvara transportlīdzekļa augstums pārsniedz 4,5 m no brauktuves virsmas un pārvadājuma maršruts šķērso elektrotransporta gaisvada kontakttīklu;
13.3.3.
ar attiecīgās dzelzceļa infrastruktūras īpašnieku vai tā pilnvarotu personu, ja pārvadājuma maršrutā ir dzelzceļa pārbrauktuve un lielgabarīta vai smagsvara transportlīdzekļa izmēri pārsniedz vismaz vienu no šādiem lielumiem:
13.3.3.1.
augstums no brauktuves virsmas – 4,5 m;
13.3.3.2.
platums – 5 m;
13.3.3.3.
ass slodze pārsniedz – 12,0 t;
13.3.3.4.
augstums no brauktuves virsmas – 4,5 m, ja tiek šķērsota elektrificētā dzelzceļa pārbrauktuve ar gaisvada kontakttīklu;
13.3.4.
(Svītrots)
13.3.5.
ar attiecīgo sakaru un elektroapgādes dienestu vai tā pilnvarotu personu, ja lielgabarīta vai smagsvara transportlīdzekļa augstums pārsniedz 5 m no brauktuves virsmas un pārvadājuma maršruts šķērso gaisvada kabeļu līniju.
(MK 13.06.2023. noteikumu Nr. 296 redakcijā)
13.1
(Svītrots ar MK 13.06.2023. noteikumiem Nr. 296)
14.
Lēmumu par atļaujas izsniegšanu vai atteikumu izsniegt atļauju var apstrīdēt Satiksmes ministrijā. Satiksmes ministrijas lēmumu var pārsūdzēt tiesā Administratīvā procesa likumā noteiktajā kārtībā.
(MK 12.07.2011. noteikumu Nr.557 redakcijā)
15.
(Svītrots ar MK 01.10.2019. noteikumiem Nr. 463)
16.
Izdevumus, kas saistīti ar pārvadājuma maršrutu saskaņošanu atbilstoši šo noteikumu 13. punktam, sedz pārvadātājs.
(Grozīts ar MK 01.10.2019. noteikumiem Nr. 463)
17.
Ja valsts sabiedrība ar ierobežotu atbildību "Latvijas Valsts ceļi" un pārvadātājs savstarpēji vienojas, pārvadātājs ir tiesīgs pats saskaņot pārvadājuma maršrutu atbilstoši šo noteikumu 13.3. apakšpunktā minētajām prasībām.
(MK 13.06.2023. noteikumu Nr. 296 redakcijā)
18.
Valsts sabiedrība ar ierobežotu atbildību "Latvijas Valsts ceļi" līdz attiecīgā pārvadājuma uzsākšanai var mainīt atļaujā norādīto pārvadājuma maršrutu, ja pēc atļaujas izsniegšanas ir būtiski mainījušies meteoroloģiskie, satiksmes vai citi apstākļi, kas varētu ietekmēt pārvadājuma drošu norisi, vai anulēt atļauju. Par atļaujas anulēšanu valsts sabiedrība ar ierobežotu atbildību "Latvijas Valsts ceļi" nekavējoties elektroniski paziņo pārvadātājam. Šādā gadījumā valsts sabiedrība ar ierobežotu atbildību "Latvijas Valsts ceļi" izsniedz jaunu atļauju citam pārvadājuma maršrutam (ja tas ir iespējams).
(MK 13.06.2023. noteikumu Nr. 296 redakcijā)
19.
Maršruta papildu izpēte ir nepieciešama, ja transportlīdzekļa vai transportlīdzekļu sastāva parametri (izņemot šo noteikumu 37. punktā minēto gadījumu) pārsniedz:
19.1.
garumu 24 m;
19.2.
platumu 5 m;
19.3.
augstumu 5 m;
19.4.
kopējo masu 52 t;
19.5.
ass slodzi 13 t.
(MK 13.06.2023. noteikumu Nr. 296 redakcijā)
19.1
Maršruta izpētē ietilpst:
19.11.
pārvadājuma maršrutā esošo Tiltu izmantošanas novērtējumu no nestspējas viedokļa; 
19.12.
ceļa klātnes izmantošanas novērtējumu no nestspējas viedokļa;
19.13.
satiksmes mezglu un ceļu šķērsojošo gaisvadu inženierkomunikāciju ģeometrisko gabarītu pietiekamības novērtējumu;
20.
Maršruta papildu izpēti, izņemot 6.3. punktā minētajā gadījumā, organizē valsts sabiedrība ar ierobežotu atbildību "Latvijas Valsts ceļi". Izdevumus, kas saistīti ar maršruta papildu izpēti, kā arī izdevumus par maršruta sagatavošanas papildu darbiem, lai nodrošinātu pārvadājumu, sedz pārvadātājs.
21.
Valsts sabiedrība ar ierobežotu atbildību "Latvijas Valsts ceļi" izsniedz atļauju, nosūta to iesniedzējam un padara publiski pieejamu kontrolei e-pakalpojuma ietvaros savā tīmekļvietnē.
(MK 13.06.2023. noteikumu Nr. 296 redakcijā)
22.
(Svītrots ar MK 13.06.2023. noteikumiem Nr. 296)
23.
(Svītrots ar MK 24.05.2016. noteikumiem Nr. 325)
24.
Atļauju uzskaiti un ar tām saistīto maksājumu kontroli veic valsts sabiedrība ar ierobežotu atbildību "Latvijas Valsts ceļi".
(MK 13.06.2023. noteikumu Nr. 296 redakcijā)
24.1
Šo noteikumu ietvaros izsniegto atļauju iespējams atcelt vai pārtraukt balstoties uz transportlīdzekļa īpašnieka iesniegtu iesniegumu valsts sabiedrība ar ierobežotu atbildību "Latvijas Valsts ceļi", atļauja tiek atcelta vai pārtraukta 3 (triju) darba dienu laikā no iesnieguma saņemšanas brīža.
25.
(Svītrots ar MK 13.06.2023. noteikumiem Nr. 296)
26.
(Svītrots ar MK 13.06.2023. noteikumiem Nr. 296)
III.Transportlīdzekļu apzīmēšana
27.
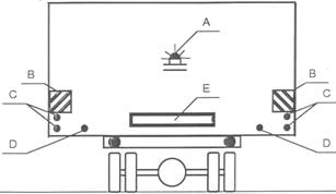
Lielgabarīta un smagsvara transportlīdzekli atļauts apzīmēt ar mirgojošu oranžu vai dzeltenu bākuguni (A) (4.pielikuma 1. un 2.zīmējums).
28.
Lielgabarīta transportlīdzekli apzīmē:
28.1.
priekšpusē (4.pielikuma 1.zīmējums):
28.1.1.
ar transportlīdzekļa pazīšanas zīmēm saskaņā ar Ceļu satiksmes noteikumiem (B);
28.1.2.
ar iedegtu baltu malējo lukturi vai piestiprinātu baltu atstarotāju. Ja lielgabarīta vai smagsvara transportlīdzekļa platums pārsniedz 3 m, katrā pusē vienu virs otra iededz divus lukturus vai piestiprina divus baltus atstarotājus (C);
28.1.3.
ar iedegtu baltu papildlukturi vai piestiprinātu baltu atstarotāju, ja attālums starp malējo lukturu vai atstarotāju un transportlīdzekļa gabarītu uguņu ārējām malām ir lielāks par 1 m (D);
28.2.
aizmugurē (4.pielikuma 2.zīmējums):
28.2.1.
ar transportlīdzekļa pazīšanas zīmēm saskaņā ar Ceļu satiksmes noteikumiem (B, E);
28.2.2.
ar iedegtu sarkanu malējo lukturi vai piestiprinātu sarkanu vai oranžu atstarotāju. Ja lielgabarīta vai smagsvara transportlīdzekļa platums pārsniedz 3 m, katrā pusē vienu virs otra iededz divus lukturus vai piestiprina divus sarkanus vai oranžus atstarotājus (C);
28.2.3.
ar iedegtu sarkanu papildlukturi vai piestiprinātu sarkanu vai oranžu atstarotāju, ja attālums starp malējo lukturu vai atstarotāju un transportlīdzekļa gabarītlukturu ārējām malām ir lielāks par 1 m (D).
29.
Priekšējos un aizmugurējos malējos lukturus vai atstarotājus novieto 0,25–0,9 m augstumā no brauktuves virsmas pēc iespējas tuvāk transportlīdzekļa vai kravas ārējai malai. Attālums starp lukturi un kravas ārējo malu nedrīkst pārsniegt 0,4 metrus.
30.
Bākugunis, papildlukturus un priekšējos un aizmugurējos malējos lukturus iededz transportlīdzekļa braukšanas laikā, kā arī apstājoties vai stāvot diennakts tumšajā laikā vai nepietiekamas redzamības apstākļos. Priekšējo un aizmugurējo malējo lukturu un papildlukturu spuldžu jaudai jābūt 15–21 W.
31.
Ja transportlīdzekļa kopējais garums ir lielāks par 6 m, tam uz sānu malas ik pēc 3 m vai, ja virsbūves vai kravas konstrukcija to neļauj, ik pēc 4 m (4.pielikuma 3.zīmējums) novieto oranžus (dzeltenus) atstarotājus (A) un oranžas (dzeltenas) gaismas gabarītlukturus (B), ko iededz vienlaikus ar priekšējiem un aizmugurējiem gabarītlukturiem vai tuvās un tālās gaismas lukturiem. Vismaz vienu atstarotāju un gabarītlukturi novieto uz transportlīdzekļa sānu malas vidējās trešdaļas.
32.
Atstarotājus un gabarītlukturus novieto 0,25–1,5 m (ja virsbūves vai kravas konstrukcija to neļauj, – līdz 2,1 m) augstumā no brauktuves virsmas. Gabarītlukturu spuldžu jaudai jābūt 4–10 W.
IV.Vairākiem pārvadājumiem izsniedzamās atļaujas uz noteiktu termiņu
(Nodaļas nosaukums MK 13.06.2023. noteikumu Nr. 296 redakcijā)
33.
Atļauju izsniedz mehāniskam transportlīdzeklim pārvadājumiem bez kravas, ja minētā transportlīdzekļa parametri nepārsniedz:
33.1.
faktisko masu 48 t;
33.2.
augstumu 4,5 m;
33.3.
platumu 3,49 m;
33.4.
garumu 20 m;
33.5.
ass slodzi 12 t.
(MK 13.06.2023. noteikumu Nr. 296 redakcijā)
34.
Atļauju izsniedz transportlīdzeklim vai transportlīdzekļu sastāvam, kas pārvadā nedalāmu kravu, ja tā parametri nepārsniedz:
34.1.
faktisko masu 52 t;
34.2.
augstumu 4,5 m;
34.3.
platumu 3,49 m;
34.4.
garumu 24 m.
(MK 13.06.2023. noteikumu Nr. 296 redakcijā)
35.
Atļauju izsniedz transportlīdzeklim vai transportlīdzekļu sastāvam, kas pārvadā dalāmu kravu un kura faktiskā masa nepārsniedz 46 t.
(MK 13.06.2023. noteikumu Nr. 296 redakcijā)
35.1
Atļauju izsniedz transportlīdzeklim vai transportlīdzekļu sastāvam, kas pārvadā dalāmu kravu un kura faktiskā masa nepārsniedz 46 t., valsts autoceļu posmos, kas minēti šo noteikumu 8.pielikumā, trīs asu summa piekabēm (puspiekabēm) pieļaujama 30 t.
36.
Atļauju izsniedz transportlīdzekļu sastāvam, kas pārvadā dalāmu kravu atbilstoši šo noteikumu 38.4 punktam un kura parametri nepārsniedz:
36.1.
faktisko masu 52 t;
36.2.
augstumu 4,2 m;
36.3.
platumu 2,60 m;
36.4.
garumu ar puspiekabi 17,50 m.
36.5.
garumu ar puspiekabi 22,0 m, pārvadājot nedalāmu kravu.
(MK 13.06.2023. noteikumu Nr. 296 redakcijā)
36.1
(Svītrots ar MK 24.05.2016. noteikumiem Nr. 325)
37.
Atļauju izsniedz transportlīdzekļu sastāvam, kas sastāv no mehāniska transportlīdzekļa, puspiekabes un piekabes un kurš pārvadā dalāmu kravu, ja tam ir vismaz astoņas asis, dzinēja jauda ir vismaz 400 ZS vai 290 kW un ja tā parametri nepārsniedz:
37.1.
faktisko masu 60 t;
37.2.
garumu 25,25 m;
37.3.
piekabes garumu 7,82 m;
37.4.
puspiekabes garumu 13,6 m.
(MK 13.06.2023. noteikumu Nr. 296 redakcijā)
38.
Atļauju izsniedz traktortehnikai, kas ir vai nav aprīkota ar maināmu tehnoloģisko agregātu vai maināmu velkamo iekārtu un kura nav paredzēta kravas pārvadāšanai, ja tās kopējie parametri nepārsniedz:
38.1.
faktisko masu 48 t;
38.2.
augstumu 4,5 m;
38.3.
platumu 5 m;
38.4.
garumu 24 m;
38.5.
ass slodzi 12 t.
(MK 13.06.2023. noteikumu Nr. 296 redakcijā)
38.1
(Svītrots ar MK 13.06.2023. noteikumiem Nr. 296)
38.2
Atļauju izsniedz traktortehnikas piekabei, kuras platums nepārsniedz 3 m.
(MK 13.06.2023. noteikumu Nr. 296 redakcijā)
38.3
Īstenojot šo noteikumu 33., 34., 35., 36., 37., 38., 38.2, 38.4 un 38.5 punktā minētos pārvadājumus, ievēro uz valsts autoceļiem noteiktos ierobežojumus, kas tiek publicēti tīmekļvietnē https://lvceli.lv/smagsvari. Minētā tīmekļvietne tiek aktualizēta katru dienu līdz plkst. 17.00.
(MK 13.06.2023. noteikumu Nr. 296 redakcijā)
38.4
Pārvadājumus atbilstoši šo noteikumu 36. punktam drīkst veikt, ja ir saņemts valsts akciju sabiedrības "Ceļu satiksmes drošības direkcija" izsniegts sertifikāts lielgabarīta un smagsvara kravu pārvadāšanai ar specializēto transportlīdzekļu sastāvu.
(MK 13.06.2023. noteikumu Nr. 296 redakcijā)
38.5
Šo noteikumu 38.4 punktā minēto sertifikātu izsniedz katram transportlīdzeklim atsevišķi, ja transportlīdzekļu sastāvs atbilst šādām prasībām:
38.51.
paredzēts dalāmas kravas pārvadāšanai;
38.52.
ir vismaz sešas asis;
38.53.
starpasu attālums divasu vai trīsasu tiltam ir vismaz 1,3 m (piekabes pirmajām sapārotajām asīm pieļaujamais starpasu attālums ir 1,15 m);
38.54.
vismaz piecām asīm, izņemot vilcēja stūrējamo asi, ir dubultriteņi;
38.55.
dzinēja jauda ir vismaz 350 ZS vai 257 kW.
(MK 13.06.2023. noteikumu Nr. 296 redakcijā)
38.6
Šo noteikumu 37. punktā minēto atļauju uz noteiktu termiņu var izsniegt tikai pārvadājumiem pa valsts galvenajiem autoceļiem un valsts galveno autoceļu maršrutos ietilpstošajām tranzīta ielām.
(MK 13.06.2023. noteikumu Nr. 296 redakcijā)
V.Dalāmu dolomīta akmens un cementa lielgabarīta un smagsvara kravu pārvadāšana konkrētā maršrutā
(Nodaļa svītrota ar MK 13.06.2023. noteikumiem Nr. 296)
39.
(Svītrots ar MK 13.06.2023. noteikumiem Nr. 296)
40.
(Svītrots ar MK 13.06.2023. noteikumiem Nr. 296)
41.
(Svītrots ar MK 13.06.2023. noteikumiem Nr. 296)
VI.Lielgabarīta transportlīdzekļu pavadīšana
42.
Ja lielgabarīta vai smagsvara transportlīdzekļa (izņemot traktortehniku) platums ir 3,5–5 m vai garums ir 30–40 m, kā arī ja pārvietošanās laikā tiek pilnībā aizņemta pretējā kustības josla vai jāveic papildu pasākumi satiksmes regulēšanai, par šādu pārvadājumu informē Valsts policiju un pārvadājuma veikšanai izmanto pavadošo transportlīdzekli.
(MK 13.06.2023. noteikumu Nr. 296 redakcijā)
43.
Par pavadošo transportlīdzekli var izmantot Valsts policijas operatīvo transportlīdzekli ar stacionāri uzstādītām zilām un sarkanām bākugunīm, speciālām skaņas iekārtām un speciālo krāsojumu vai vieglo automobili, kas aprīkots ar:
43.1.
vismaz divām oranžām (dzeltenām) bākugunīm, kuru izvietojums nodrošina to redzamību 360° leņķī;
43.2.
mobilo vai stacionāro iebūvēto auto rāciju (27 MHz) radiosakaru nodrošināšanai ar lielgabarīta vai smagsvara transportlīdzekļa vadītāju;
43.3.
stacionāri uz pavadošā transportlīdzekļa jumta montētu maināmo signālu iekārtu (6. pielikums);
43.4.
speciālu gaismu atstarojošu apzīmējumu transportlīdzekļa priekšā un aizmugurē (7. pielikums);
43.5.
skaļruni;
43.6.
trim līdz pieciem brīdinājuma konusiem;
43.7.
vismaz 50 m garu mērlenti.
(MK 13.06.2023. noteikumu Nr. 296 redakcijā)
43.1
Ja lielgabarīta vai smagsvara transportlīdzekļa (izņemot traktortehniku, kas veic īslaicīgus pārbraucienus) platums ir 3,5–4,0 m un garums nepārsniedz 30 m, pārvadājuma veikšanai izmantoto pavadošo transportlīdzekli var neaprīkot ar šo noteikumu 43.3. apakšpunktā minēto iekārtu.
(MK 13.06.2023. noteikumu Nr. 296 redakcijā)
43.2
Ja lielgabarīta vai smagsvara transportlīdzekļa platums pārsniedz 5 m vai garums pārsniedz 40 m, pārvadājuma veikšanai par pavadošo transportlīdzekli izmanto Valsts policijas operatīvo transportlīdzekli ar stacionāri uzstādītām zilām un sarkanām bākugunīm, speciālām skaņas iekārtām un speciālo krāsojumu.
(MK 13.06.2023. noteikumu Nr. 296 redakcijā)
44.
Traktortehniku aprīko ar oranžu (dzeltenu) bākuguni. Ja traktortehnikas platums ir lielāks par 4 m, diennakts tumšajā laikā vai nepietiekamas redzamības apstākļos par pavadošo transportlīdzekli izmanto vieglo automobili, kas aprīkots ar oranžu (dzeltenu) bākuguni, kuras izvietojums nodrošina tās redzamību 360° leņķī.
(MK 13.06.2023. noteikumu Nr. 296 redakcijā)
45.
Pavadot vairākus lielgabarīta vai smagsvara transportlīdzekļus, izmanto vismaz divus pavadošos automobiļus.
46.
Pavadošā automobiļa līdzdalību nodrošina pārvadātājs.
47.
Atkarībā no pavadāmā transportlīdzekļa maršruta lēmumu par Valsts policijas līdzdalību pieņem Valsts policijas pilnvarota persona.
(MK 13.06.2023. noteikumu Nr. 296 redakcijā)
48.
Samaksas apmēru par Valsts policijas transportlīdzekļu izmantošanu nosaka saskaņā ar Valsts policijas sniegto maksas pakalpojumu cenrādi un attiecīgos līdzekļus ieskaita Valsts policijas kontā Valsts kasē. Izdevumus, kas saistīti ar lielgabarīta vai smagsvara transportlīdzekļa pavadīšanu, sedz pārvadātājs.
49.
Pavadošais automobilis brauc pavadāmā lielgabarīta transportlīdzekļa priekšpusē tā, lai nosegtu pavadāmā lielgabarīta transportlīdzekļa kreiso pusi. Atsevišķos manevros pavadošais automobilis nodrošina kustības drošību arī lielgabarīta transportlīdzekļa aizmugurē.
50.
Lielgabarīta vai smagsvara militāros transportlīdzekļus pavada militārā policija, par plānoto maršrutu informējot Valsts policijas attiecīgā reģiona pārvaldes priekšnieku.
VII.Noslēguma jautājumi
(Nodaļa MK 24.05.2016. noteikumu Nr. 325 redakcijā, kas grozīta ar MK 01.10.2019. noteikumiem Nr. 463)
51.
Līdz 2016. gada 30. septembrim to lielgabarīta vai smagsvara transportlīdzekļu (izņemot traktortehniku) pavadīšanai, kuru platums ir 3,5–4 m vai garums ir 24–30 m, drīkst nepiemērot šo noteikumu 43. punktā noteiktās prasības un izmantot pavadošo automobili – M1 kategorijas mehānisko transportlīdzekli, kas aprīkots tikai ar oranžām (dzeltenām) bākugunīm.
52.
(Svītrots ar MK 13.06.2023. noteikumiem Nr. 296)
1.
pielikums
Ministru kabineta
2010. gada 6. aprīļa
noteikumiem Nr.
343
Lielgabarīta un smagsvara pārvadājuma atļaujas paraugs
(Pielikums svītrots ar MK 01.10.2019. noteikumiem Nr. 463)
2.
pielikums
Ministru kabineta
2010. gada 6. aprīļa
noteikumiem Nr.
343
Lielgabarīta un smagsvara pārvadājuma atļaujas pieprasījums
(Pielikums svītrots ar MK 01.10.2019. noteikumiem Nr. 463)
3.
pielikums
Ministru kabineta
2010.gada 6.aprīļa
noteikumiem Nr.
343
Transportlīdzekļa kontroles akta paraugs
(Pielikums svītrots ar MK 24.05.2016. noteikumiem Nr. 325)
4.
pielikums
Ministru kabineta
2010.gada 6.aprīļa
noteikumiem Nr.
343
Lielgabarīta un smagsvara transportlīdzekļu apzīmēšana

1.zīmējums

2.zīmējums

3.zīmējums

5.
pielikums
Ministru kabineta
2010.gada 6.aprīļa
noteikumiem Nr.
343
Sertifikāta paraugs lielgabarīta un smagsvara kravu pārvadāšanai ar specializēto transportlīdzekļu sastāvu
(Pielikums MK 13.06.2023. noteikumu Nr. 296 redakcijā)
6.
pielikums
Ministru kabineta
2010. gada 6. aprīļa
noteikumiem Nr.
343
Maināmo signālu iekārta
(Pielikums MK 24.05.2016. noteikumu Nr. 325 redakcijā)

1. Maināmo signālu iekārtā attēlojamie signāli:

1. zīmējums 2. zīmējums 3. zīmējums
4. zīmējums 5. zīmējums 6. zīmējums
7. zīmējums 8. zīmējums 9. zīmējums
   
10. zīmējums    

2. Simboli priekšā (redzami pretimbraucējiem):

2.1. virziena bultas pa labi (pieaugošā secībā) – 4., 5., 6. zīmējums;

2.2. brīdinājuma simbols – 7. zīmējums;

2.3. divi dzelteni LED zibšņi (stroboskopi) – 10. zīmējums.

3. Simboli aizmugurē (redzami no aizmugures):

3.1. virziena bultas pa kreisi (pieaugošā secībā) – 1., 2., 3. zīmējums;

3.2. virziena bultas pa labi (pieaugošā secībā) – 4., 5., 6. zīmējums;

3.3. brīdinājuma simbols – 7. zīmējums;

3.4. apdzīšanas aizlieguma simbols vieglajiem transportlīdzekļiem – 8. zīmējums;

3.5. apdzīšanas aizlieguma simbols kravas transportlīdzekļiem – 9. zīmējums;

3.6. divi dzelteni LED zibšņi (stroboskopi) – 10. zīmējums.

4. Katrs simbols mirgo atsevišķi, kā arī ir kombinējams, piemēram, 1+ 2 +3 + 7 + 10 vai 7 + 8 +10, vai 7 + 10.

5. Iekārtai ir dienas un nakts režīms.

6. Iekārtai ir ražotāja sertifikāts par iekārtas konstrukciju atbilstību LVS EN 12966:2015 "Vertikālās ceļa zīmes. Maināmās informācijas ceļa zīmes".

7. Iekārtas minimālie izmēri: augstums – 700 mm, platums – 1000 mm.

8. Augstums (no brauktuves) iekārtas uzstādīšanai uz transportlīdzekļa – iekārtas apakšējā mala ir vismaz 1600 mm augstumā, bet ne augstāk par 2100 mm.

7.
pielikums
Ministru kabineta
2010. gada 6. aprīļa
noteikumiem Nr.
343
Speciāls gaismu atstarojošs apzīmējums
(Pielikums MK 24.05.2016. noteikumu Nr. 325 redakcijā)

1. Gaismu atstarojoši (dzeltens/sarkans) vairogi/lentes.

2. Pavadošajam transportlīdzeklim priekšā un aizmugurē piestiprinātajam atstarojošajam apzīmējumam ir viena (horizontāla) vai divas (horizontālas vai vertikālas) pazīšanas zīmes – taisnstūri ar slīpām sarkanām fluorescējošām paralēlām svītrām (45° leņķī ar kāpumu transportlīdzekļa ass virzienā). Starpsvītru platums nepārsniedz 100 mm un starpsvītru materiāls (virsma) ir izgatavots no dzeltena gaismu atstarojoša materiāla.

3. Speciālais gaismu atstarojošais apzīmējums uz pavadošā transportlīdzekļa izvietojams tā, lai tā apakšējā mala atrastos ne zemāk par 250 mm, bet augšējā mala – ne augstāk par 2100 mm no ceļa virsmas.

4. Speciālā gaismu atstarojošā apzīmējuma kopējais no viena virziena redzamais garums ir vismaz 1130 mm, platums – no 130 līdz 150 mm.

8.
pielikums
Ministru kabineta
2010. gada 6. aprīļa
noteikumiem Nr.
343
Valsts autoceļu maršrutu posmi, kuros pieļaujami pārvadājumi ar trīs asu piekabēm (puspiekabēm), kuru asu slodzes summa nepārsniedz 30t., ja transportlīdzekļa vai transportlīdzekļu sastāva faktiskā masa nepārsniedz 46t.